泽福生活泽福生活
  • 首页
  • 泽福车
  • 泽福旅游
  • 泽福落户
  • 缤瑞新能源汽车销量排行榜-缤瑞新能源汽车销量排行榜前十名

    大家好,今天小编关注到一个比较有意思的话题,就是关于缤瑞新能源汽车销量排行榜的问题,于是小编就整理了3个相关介绍缤瑞新能源汽车销...

    • 缤瑞新能源汽车销量排行榜-缤瑞新能源汽车销量排行榜前十名
    • 缤瑞新能源汽车销量排行榜-缤瑞新能源汽车销量排行榜前十名
    • 缤瑞新能源汽车销量排行榜-缤瑞新能源汽车销量排行榜前十名
    nihdff nihdff 2024-04-16 445 0
    #销量#吉利#汽车
  • 东风标致307报价(东风标致307报价二手12年)东风标致307报价

    东风标致307多少钱?——来了解一下 1、标致307三厢车型的价格在12万左右。标致307三厢车型是一款优雅、个性十足的爱车。它...

    • 东风标致307报价(东风标致307报价二手12年)东风标致307报价
    • 东风标致307报价(东风标致307报价二手12年)东风标致307报价
    • 东风标致307报价(东风标致307报价二手12年)东风标致307报价
    nihdff nihdff 2024-04-16 40 0
    #东风标致307报价
  • 卡尔森汽车销量排行榜最新-卡尔森汽车销量排行榜最新数据

    大家好,今天小编关注到一个比较有意思的话题,就是关于卡尔森汽车销量排行榜最新的问题,于是小编就整理了2个相关介绍卡尔森汽车销量排...

    • 卡尔森汽车销量排行榜最新-卡尔森汽车销量排行榜最新数据
    • 卡尔森汽车销量排行榜最新-卡尔森汽车销量排行榜最新数据
    • 卡尔森汽车销量排行榜最新-卡尔森汽车销量排行榜最新数据
    nihdff nihdff 2024-04-16 379 0
    #汽车#东风#卡西
  • 英国留学哪家中介靠谱(英国留学哪家中介好)英国留学哪家中介靠谱

    英国留学机构那个靠谱 1、启德留学:最专业的留学咨询机构之一,国际资源优势雄厚,也是国内比较有名的留学机构之一。启德留学的名校申...

    • 英国留学哪家中介靠谱(英国留学哪家中介好)英国留学哪家中介靠谱
    • 英国留学哪家中介靠谱(英国留学哪家中介好)英国留学哪家中介靠谱
    • 英国留学哪家中介靠谱(英国留学哪家中介好)英国留学哪家中介靠谱
    nihdff nihdff 2024-04-16 36 0
    #英国留学哪家中介靠谱
  • 8月汽车销量排行榜威朗-8月汽车销量排行榜威朗多少

    大家好,今天小编关注到一个比较有意思的话题,就是关于8月汽车销量排行榜威朗的问题,于是小编就整理了4个相关介绍8月汽车销量排行榜...

    • 8月汽车销量排行榜威朗-8月汽车销量排行榜威朗多少
    • 8月汽车销量排行榜威朗-8月汽车销量排行榜威朗多少
    • 8月汽车销量排行榜威朗-8月汽车销量排行榜威朗多少
    nihdff nihdff 2024-04-16 538 0
    #销量#克威#排行榜
  • 三菱猎豹越野车报价(三菱汽车猎豹越野车报价)三菱猎豹越野车报价

    猎豹飞腾的性价比如何?值得入手吗? 值得买。猎豹飞腾在设计和制造上借鉴了日本和欧美汽车的技术,质量较为稳定可靠。经过一段时间的使...

    • 三菱猎豹越野车报价(三菱汽车猎豹越野车报价)三菱猎豹越野车报价
    • 三菱猎豹越野车报价(三菱汽车猎豹越野车报价)三菱猎豹越野车报价
    • 三菱猎豹越野车报价(三菱汽车猎豹越野车报价)三菱猎豹越野车报价
    nihdff nihdff 2024-04-16 24 0
    #三菱猎豹越野车报价
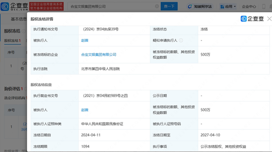
  • 赵薇,500万元股权被冻结!

    炒股就看金麒麟分析师研报,权威,专业,及时,全面,助您挖掘潜力主题机会! 证券时报 聂英好 4月16日,赵薇名下股...

    • 赵薇,500万元股权被冻结!
    • 赵薇,500万元股权被冻结!
    • 赵薇,500万元股权被冻结!
    nihdff nihdff 2024-04-16 632 0
    #赵薇#冻结#股权
  • 四月商用汽车销量排行榜-四月商用汽车销量排行榜最新

    四月商用汽车销量排行榜-四月商用汽车销量排行榜最新

    大家好,今天小编关注到一个比较有意思的话题,就是关于四月商用汽车销量排行榜的问题,于是小编就整理了2个相关介绍四月商用汽车销量排...

    nihdff nihdff 2024-04-16 603 0
    #销量#汽车#上月
  • 仁华学校(仁华学校奥林匹克数学思维训练教程)仁华学校

    熔炉真实事件原型 《熔炉》真实事件原型是韩国光州仁华学校教师性侵残疾学生的事件。原型事件:案件发生在光州仁和特殊教育学校中。20...

    • 仁华学校(仁华学校奥林匹克数学思维训练教程)仁华学校
    • 仁华学校(仁华学校奥林匹克数学思维训练教程)仁华学校
    • 仁华学校(仁华学校奥林匹克数学思维训练教程)仁华学校
    nihdff nihdff 2024-04-16 40 0
    #仁华学校
  • 2月份新势力汽车销量排行-新势力车企销量榜单

    大家好,今天小编关注到一个比较有意思的话题,就是关于2月份新势力汽车销量排行的问题,于是小编就整理了4个相关介绍2月份新势力汽车...

    • 2月份新势力汽车销量排行-新势力车企销量榜单
    • 2月份新势力汽车销量排行-新势力车企销量榜单
    • 2月份新势力汽车销量排行-新势力车企销量榜单
    nihdff nihdff 2024-04-16 512 0
    #销量#小鹏#汽车
首页 上一页 9960 9961 9962 9963 9964 9965 9966 9967 9968 9969 下一页 尾页

正在加载...

没有更多内容

加载错误

本站非盈利性质,内容来源于互联网,如有冒犯请联系我们立删邮箱:83115484#qq.com,#换成@就是邮箱

渝ICP备2023003099号-8 Powered: Z-BlogPHP Themes: YEELZ